-
几种常用板链式斗式提升机的性能特点比照
板链斗式提升机有多种类型,,,,,NE、NSE、TB等型号,,,,,其中较常用的是NE系列板链斗式提升机。。。几种常用板链式斗提机的性能特点比照。。。...
2019-09-10 10:25:42 -
水泥厂GTZ型高效斗式提升机
水泥厂GTZ型高效斗式提升机与HL系列环链提升机相较量,,,,,具有可选用品种范国宽、提升高度高提升量大、单位提升量耗电低等特点。。。...
2019-09-10 10:05:18 -
HL环链斗式提升机上部链轮刷新
斗式提升机在现实生产历程中,,,,,可能会遇到一些问题,,,,,有些厂家就会现场举行手艺刷新,,,,,我们看下河北某水泥厂对环链斗式提升机上部链轮的刷新情形。。。...
2019-09-09 07:26:27 -
链条斗式提升机改用钢丝绳的实验
某厂的环链条斗式提升机由于结构缘故原由保存一些通。。。憾狭础⒃焦臁⑴鼙,,,,,跳轮、断轴等故障,,,,,在技改时对HL型斗提机改用钢绳牵引。。。...
2019-09-08 10:55:41 -
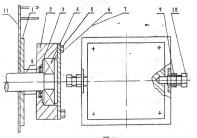
斗式提升机下轴承座的刷新要领
某水泥厂的提升机下部轴承座设计很不对理,,,,,粉尘经常进入到轴承内,,,,,造成很大影响,,,,,对此作出了完善刷新,,,,,本文先容下他们的要领。。。...
2019-09-07 07:47:36 -
水泥厂环链条斗式提升机拉紧装置的刷新
某水泥才斗式提升机下部拉紧装置接纳的是手动调理拉紧螺栓,,,,,经常泛起故障,,,,,对此,,,,,对TD皮带型、TH环链型斗式提升机下部拉紧装置划分举行了刷新。。。...
2019-09-06 08:47:10 -
环链式斗式提升机下部装置综合刷新
环链式斗式提升机是水泥厂附机中运用较多的一种笔直提升装备,,,,,下部装置可能保存一些缺陷,,,,,对其举行剖析,,,,,然后做出一些综合刷新。。。...
2019-09-06 08:25:58 -
链条斗式提升机对转速的刷新
对环链条斗式提升机三种卸料方法举行剖析,,,,,通过验算转速,,,,,把提升机转速提高,,,,,彻底解决了喷灰和梗塞故障,,,,,提高了提升量。。。...
2019-09-06 07:49:44















