hjc888黄金城

电话:

链条斗式提升机改用钢丝绳的实验

[作者:hjc888黄金城机械 日期:2019-09-08 点击:1496]

古板的链条斗式提升机(下称斗提机)由于结构缘故原由保存的通病是:故障多、消耗大。。。在现实生产中常泛起断链、越轨、跑边,,, ,,,,跳轮、断轴等故障。。。同吋链轮磨损快,,, ,,,,维修量大,,, ,,,,经常威胁着生产,,, ,,,,造成损失。。。对此我厂在技改时对HL型斗提机改用钢绳牵引前后共6台。。。首先在8m高的矿磕、混淆料、水泥提升机作试验,,, ,,,,然后总结推广到22m、23m、24m高度的生料、水泥提升机、寿命由一个月提高到一年以上,,, ,,,,其中一台24m的已用三年未换钢绳。。。改后几年来,,, ,,,,经由总结完善已起源显示出优越性。。。如使用寿命横跨链条4倍以上,,, ,,,,备件价钱每m节约7.20元,,, ,,,,重量仅链条的1/15,,, ,,,,且破断负荷高2.5倍以上,,, ,,,,维修量镌汰。。。较量有用的战胜了链条传动的误差。。。

hjc888黄金城--手机版app官网
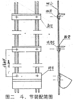
图一 绳、轮、斗、节示意图

从上表可看出钢绳的各项指标均优于链条,,, ,,,,同时还具有如下特点

1.提升高度越高(40m以内)使用寿命越长。。。
2.柔软轻盈,,, ,,,,装修省力省时。。。
3.提升量可凭证需要适当增减调理。。。
4.刷新投资少,,, ,,,,一样平常每台刷新投资仅需链条年消耗量的20-30%。。。
5.使用率高。。。在坚持原机各项性能稳固的情形下,,, ,,,,90%以上的零部件可使用。。。

hjc888黄金城--手机版app官网

刷新情形简介于后:

1.钢丝绳与绳轮的配合:钢绳是同传动节、料斗组合而成绕上下绳轮装配的。。。(见图一)牵引结构除增添传动节外其余均稳固。。。装置钢绳时绳头要扎紧,,, ,,,,四根排列整齐、讨论相互错开,,, ,,,,张紧度要适中。。。
2.传动节:凭证钢绳牵引特征增设了传动节(图二)装配时与料斗坚持一定间距,,, ,,,,借以牢靠绳距,,, ,,,,坚持相关件的相对位置,,, ,,,,并镌汰绳循环转时的扎切征象又起一定的导轮作用。。。
3.料斗、传动节装配:斗、节装配(见图二)是同悬空的钢绳同时配合举行的,,, ,,,,在装配时必需严酷按工艺顺序举行:螺栓→平垫→绳垫卡一胶垫→垫片→料斗(角钢)→弹垫→螺帽。。。斗、节、钢绳与垫卡要安顿平正,,, ,,,,调好节距依次紧固螺栓。。。节距误差控制在士5mm,,, ,,,,不然会影响传动平稳性,,, ,,,,造成振动增添,,, ,,,,扎钢绳的征象,,, ,,,,缩短使用寿命。。。
4.胶垫角钢制作装配:胶垫的宽窄凭证型号而定,,, ,,,,一样平常制成40和70mm两种与斗扣角钢配合,,, ,,,,两孔距为180mm。。。(见图三a、b)角钢(图四)的制作要凭证现实决议孔径和孔距。。。装配时斗节同钢绳的交角应成90°。。。
5.钢绳:我厂经多年实践筛选,,, ,,,,选用了中心带有一个机芯的D型钢丝绳。。。它具有柔软性好,,, ,,,,拉力强,,, ,,,,易卷曲,,, ,,,,便于装配拖动等优点。。。一样平常选绳规模在11-の15.5之间。。。

hjc888黄金城--手机版app官网

维护治理

1.运转初期由于钢绳延仲率大,,, ,,,,易打滑应随时注重调解张紧度。。。
2.注重传动声音、有时斗节螺栓松动脱落泛起异常声音,,, ,,,,应实时停车处置惩罚。。。
3.初期运转结构可变性大,,, ,,,,其通例检査时间为:一天、三天、七天、十天平划分多次检查和紧固。。。
4.试运转中有跑边、爬轮征象可不必停车,,, ,,,,实时调解张紧螺栓即可。。。

链条和钢绳的有关数据较量表
hjc888黄金城--手机版app官网

几点注重事项:

1.斗节装配时要注重悬空于绳轮双方的斗节重量的平衡,,, ,,,,在操作前应先将绳轮制死,,, ,,,,避免下滑伤人。。。
2.钢绳下料长度应丈量准确,,, ,,,,阻止造成铺张。。。
3.每根钢绳的张紧度要适中,,, ,,,,一样平常用手掌按稍有弹性为佳,,, ,,,,松紧悬殊不宜过大,,, ,,,,避免受力不均出故障缩短使用寿命。。。

电话:
首页 返回顶部
【网站地图】【sitemap】