hjc888黄金城

电话:

刮板运送机配件

首页 > 产品展示 > 刮板运送机配件

FU270链条尺寸

FU270刮板机链条和NE30提升机链条、NE50提升机链条尺寸类似,,, ,,都属于大节距套筒滚子链条,,, ,,是刮板运送机中的常用链条,,, ,,有双方带钩子的U型链条,,, ,,也有双方带刮板的T型链条。。。。。。。

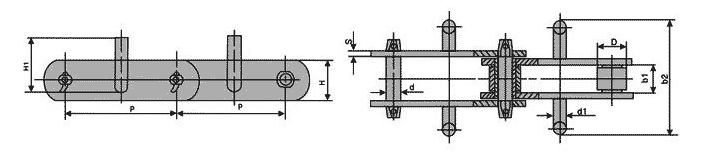
FU270链条节距152.4mm,,, ,,内节内宽36.5mm,,, ,,滚子直径36mm,,, ,,链板高度50mm,,, ,,链板厚度8mm,,, ,,销轴直径15.5mm,,, ,,销轴长度90mm,,, ,,双方链钩中心距224mm,,, ,,链钩直径16mm。。。。。。。

FU270链条材质

可以看的出来FU270链条和NE提升机链条样式尺寸类似,,, ,,只是双方带的是刮板或链钩,,, ,,用来刮物料。。。。。。。

FU270链条材质虽然与NE系列链条材质也类似了,,, ,,链板为45#钢,,, ,,销轴套筒滚子为40Cr调质热处置惩罚,,, ,,链钩材质为Q235。。。。。。。

FU刮板机链条型号体现

FU270着实就是刮板运送机的型号,,, ,,FU是刮板运送机的字母代号,,, ,,270是运送槽的宽度。。。。。。。

FU270刮板运送机概述

FU型拉链式运送机,,, ,,是引进外洋先进手艺并举行刷新的一个运送机产品,,, ,,适合运送粉状、粒状物料,,, ,,其使用性能优于螺旋运送机,,, ,,埋刮板运送机和其它运送装备,,, ,,在建材、修建、化工、矿山、机械、冶炼、粮饲加工等行业都有着普遍应用。。。。。。?????梢运健⑶阈逼蛟怂停,, ,,收支口设计也很无邪,,, ,,多口进料、多口出料都可以实现。。。。。。。

FU270刮板运送机的槽宽为270mm,,, ,,运送量凭证链条运行速率而确定。。。。。。。刮板机设计是,,, ,,链条运行速率需要凭证物料的特征举行选择,,, ,,例如对磨琢性强、温度高、粗大颗粒比例多及料粒大的物料可以选用较慢的速率。。。。。。。

FU270刮板运送机,,, ,,也叫FU270拉链机,,, ,,链式运送机,,, ,,运送原理很好明确,,, ,,拉链机链条的运动使机槽内的物料之间内部压力和颗粒间的内摩擦力增添,,, ,,当料层之间的内摩擦力大于物料与槽壁间的外摩擦力时,,, ,,物料就随着运送链一起象水一样地向前流动,,, ,,料层高度与机槽宽度的比值知足一定条件时,,, ,,可形成稳固的物料流。。。。。。。先进的运送原理,,, ,,优异的设计和制造工艺为本系列产品的优良性能提供了可靠包管。。。。。。。

FU刮板运送机链条手艺参数

FU拉链机链条参数尺寸

型号 节距 
(P)
滚子外径
(ФDr)
内节内宽
(LI)
销轴直径
(ΦDp)
销轴长度
(L)
链板厚
(T)
链板宽
(Hp)
链钩高
(H1)
总宽
(B)
链钩直径 
(d1)
载荷(Tmax)
单位:KN
FU150 101.6 26.5 27 11.5 70 6 35 48 130 12 100
FU200 152.4 36 36.5 15.5 90 8 50 65 160 16 230
FU270 152.4 36 36.5 15.5 90 8 50 85 240 16 230
FU350 200 44.5 51.8 19.1 120 10 60 123 320 20 380
FU410 200 44.5 51.8 19.1 120 10 60 148 370 20 380
FU410Q 200 48.5 57.6 22.2 126 10 75 148 370 20 550
FU500 300 63.5 67.4 31.75 150 12 90 180 460 25 750


上一篇:FU刮板运送机链条

下一篇:没有了!

电话:
首页 返回顶部
【网站地图】【sitemap】